
Miniature Bearings Australia
CIB-04128-C - Datasheet
MBA
Category Information
Retaining Rings - Internal - Circlips - BevelledBevelled Circlips Internal Retaining Rings. N1302 / VHO / 16631 / 9002 / N5002. Retaining rings. Snap Rings (USA).
- An expanded range may be available on special order. Please enquire.
- A 15 Deg. bevel on the outside diameter to be fitted to a 15% bevel on the load bearing groove wall.
- Will yield rigid end-play take-up of manufacturing tolerances or wear on the retained part.
- Used in greasy or oily environments.
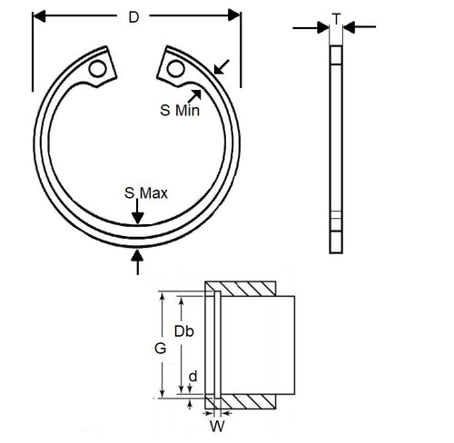
Product Data
- Housing Bore (B)
:
41.28
mm
(Equiv. 1.625 in.) - Clip Thickness (T)
1.50
mm
+/- 0.08
(Equiv. 0.059 in.) - Groove Dia. (Dg)
44.27
mm
+ 0.13 / - 0.00
(Equiv. 1.743 in.) - Approx. Loose Circlip OD (Dr) 45.19 mm + 1.52 / - 0.00
- Groove Width (W) 1.30 mm + 0.03 / - 0.00
- Tool PRS-I070
- Material Carbon Steel
Product Compliance and Data
Additional Resources
Cross References
- Huyett® VHO-162
- NoCor® VHO-162
- VHO162
- N13020162
- N1302-0162


