
Miniature Bearings Australia
WRI-0280A-RD - Datasheet
MBA
Category Information
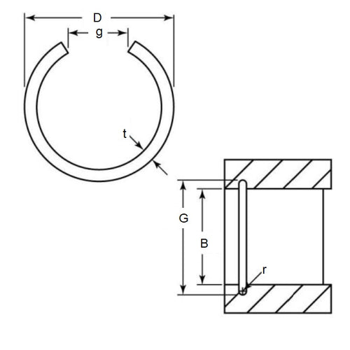
Retaining Rings - Internal - Round WireRound Wire Internal Retaining Rings. Includes DIN7993B / RB / M1700 / BN826. Retaining rings. Snap Rings (USA). Round section circlips.
- An expanded range may be available on special order. Please enquire.
- Round section wire rings are mostly used in semicircular grooves.
- Applications include gear systems, automotive engineering and open gudgeon pins.
Product Data
- Housing Bore (B)
:
28.00
mm
(Equiv. 1.102 in.) - Clip Thickness (T)
2.0
mm
+ 0.10 / - 0.05
(Equiv. 0.079 in.) - Groove Dia. (Dg)
30.30
mm
Min.
(Equiv. 1.193 in.) - Approx. Loose Circlip OD (Dr) 31.10 mm
- Groove Width (W) 2.10 + 0.10 / - 0.00
- Free Inside Diameter (D) 27.1
- Info DIN7993
- Section Profile Round Section
- Groove Radius (r) 1.05 mm
- Gap (g) 11.000 mm
- Material Carbon Spring Steel
Product Compliance and Data
Additional Resources
Cross References
- NoCor D17-028
- AMC RB-028
- Seeger RB-028
- RB028
- D17028



