
Miniature Bearings Australia
WRI-0190A-RD - Datasheet
MBA
Category Information
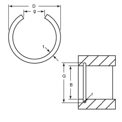
Retaining Rings - Internal - Round WireRound Wire Internal Retaining Rings. Includes DIN7993B / RB / M1700 / BN826. Retaining rings. Snap Rings (USA). Round section circlips.
- An expanded range may be available on special order. Please enquire.
- Round section wire rings are mostly used in semicircular grooves.
- Applications include gear systems, automotive engineering and open gudgeon pins.
Product Data
- Housing Bore (B)
:
19.00
mm
(Equiv. 0.748 in.) - Clip Thickness (T)
1.4
mm
+ 0.08 / - 0.04
(Equiv. 0.055 in.) - Groove Dia. (Dg)
20.70
mm
Min.
(Equiv. 0.815 in.) - Approx. Loose Circlip OD (Dr) 21.50 mm
- Groove Width (W) 1.50 + 0.08 / - 0.00
- Free Inside Diameter (D) 18.7
- Info DIN7993
- Section Profile Round Section
- Groove Radius (r) 0.75 mm
- Gap (g) 9.000 mm
- Material Carbon Spring Steel
Product Compliance and Data
Additional Resources
Cross References
- NoCor D17-019
- AMC RB-019
- Seeger RB-019
- RB019
- D17019


