
Miniature Bearings Australia
MLM-120M-120-Z-ECO - Datasheet
ECO
Category Information
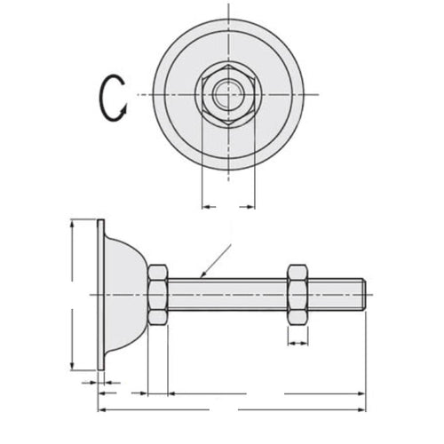
Mounts - Levelling Studded - Economy - Plain BasePlain Base Economy Levelling Studded Mounts. Levelling adjusters. Protects general metalworking processes equipment including punch presses, milling machines, lathes, mixers, injection moulding machines, grinders from shock and vibration.
- An expanded range may be available on special order. Please enquire.
Product Data
- Thread Size (A) : M12 (12x1.75mm)
- Base Diameter (D)
60.0
mm
(Equiv. 2.362 in.) - Foot Height (C)
28.0
mm
(Equiv. 1.102 in.) - Thread Length (F) 120.0 mm
- Base Height (E) 26.0 mm
- Overall Height 148.0 mm
- Load Rating 44.10 Kg
- Pad Thickness 2 mm
- Pad Material Metal
- Hex Flats (B) 19 mm
- Material Steel - Zinc
Product Compliance and Data
Additional Resources
Cross References
- Misumi C-CNFJN12-120
- CCNFJN12120


