
Miniature Bearings Australia
MLM-100M-080-Z-ECO - Datasheet
ECO
Category Information
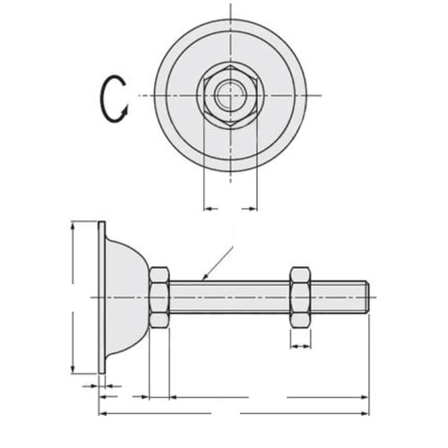
Mounts - Levelling Studded - Economy - Plain BasePlain Base Economy Levelling Studded Mounts. Levelling adjusters. Protects general metalworking processes equipment including punch presses, milling machines, lathes, mixers, injection moulding machines, grinders from shock and vibration.
- An expanded range may be available on special order. Please enquire.
Product Data
- Thread Size (A) : M10 (10x1.5mm)
- Base Diameter (D)
38.0
mm
(Equiv. 1.496 in.) - Foot Height (C)
19.5
mm
(Equiv. 0.768 in.) - Thread Length (F) 80.0 mm
- Base Height (E) 17.9 mm
- Overall Height 99.5 mm
- Load Rating 39.20 Kg
- Pad Thickness 2 mm
- Pad Material Metal
- Hex Flats (B) 17 mm
- Material Steel - Zinc
Product Compliance and Data
Additional Resources
Cross References
- Misumi C-CNFJN10-80
- CCNFJN1080


