
Miniature Bearings Australia
KM000-129-6L34-ST - Datasheet
MBA
Category Information
Knobs - Lobe - Six Lobe - MaleMale Six Lobe Lobe Knobs. Also see star knobs
- An expanded range may be available on special order. Please enquire.
Product Data
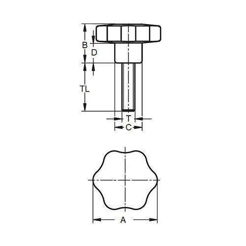
- Thread Size : Solid
- Head Diameter (A)
128.78
mm
(Equiv. 5.07 in.) - Thread Length
34.0
mm
(Equiv. 1.339 in.) - Colour Black
- Hub Diameter (C) 39.88 mm
- Hub Length (D) 46.99 mm
- Material Steel
Product Compliance and Data
Additional Resources
Cross References
- KHN55
- KHN-55


