
Miniature Bearings Australia
MW-6804 - Datasheet
MBA
Category Information
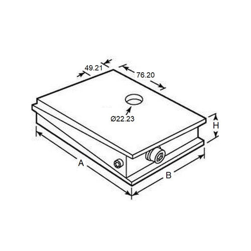
Mounts - Wedge - Heavy DutyHeavy Duty Wedge Mounts. For installation and precise leveling of heavy industrial machinery.
- Three machined wedges are mounted and held together by a horizontal adjusting bolt.
- A lock screw ensures the mount in the leveled position.
- Keys in the sliding surface of the wedges ensure rigidity within the mount construction.
- A special opening allows for bolting of the machine to the floor.
- Maximum leveling is 6.35mm.
Product Data
- Max Load : 6803.9 Kg
- Length (A)
152.40
mm
(Equiv. 6 in.) - Width (B)
101.60
mm
(Equiv. 4 in.) - Height (H) 41.28 mm
- Material Steel
Product Compliance and Data
Additional Resources
Cross References
- VP50
- VP-50


